Описание
Отзывы
Описание
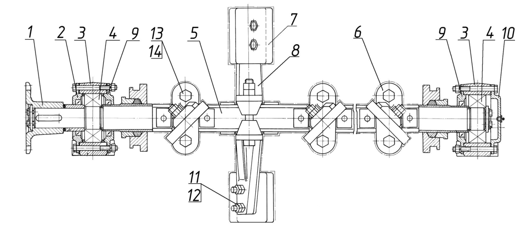
Крышка проходная - это составная часть внутреней конструкции смесителя, выполненная в виде круга плоской формы. Деталь имеет сквозные отверстия для крепления.
Прямо сейчас вы можете купить это оборудование! Для этого просто позвоните по телефону: 8-800-700-03-66 (звонок по России бесплатный).
Позиция отмечена цифрой 2 на схеме
Цена актуальна на 20.11.23
Получить бесплатную консультацию по товару или оставить заявку на приобретение можно по e-mail: sdsnab63@yandex.ru
Отзывы
Отзывов еще никто не оставлял
